找回密码
 立即注册
澳门威尼斯人
U8
U18
海燕招商
A
蓝盾
e世博
islot.
申博亚洲
澳门银河
B
开云
腾博会
德信
C级广告商
吉祥坊
华体会
查看: 102754|回复: 54

[真人] 【实战有奖】今天在通宝娱乐城BB骰宝收米400元

[复制链接]

3671

主题

7万

回帖

6791

金币

海燕硕士

积分
216283

万时之王老会员勤奋勋章交易勋章

发表于 2025-5-24 10:51 | 显示全部楼层 |阅读模式

马上注册,结交更多好友,享用更多功能,让你轻松玩转社区。

您需要 登录 才可以下载或查看,没有账号?立即注册

×
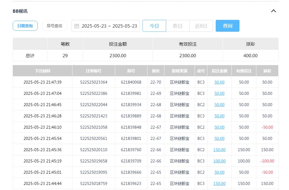
今天还是继续存款玩玩这个区块链色子了,最近玩这个游戏玩的还是很频繁的,今天的菠菜还是很给力的,开局命中率很高的,后面的下注玩起来就顺利很多了,最后的结果盈利400块钱,只要是能够做到赢钱就可以了,不输钱就可以了要求也不要太高了,菠菜就应该谨慎一点点慢慢来
0 h% y4 ~, I, y: d" U' I( ?# o. L7 ], h1 z3 K3 [
360截图20250524101422016.jpg 360截图20250524103604773.jpg
+ z: e5 v/ E" V0 T9 }  B$ f& s( n* _$ C1 z0 G; [, W+ \+ P" J
开局第一单下注150块钱大打出来256点数13成功赢钱了,开门红还是很给力的,这就是赢钱的好机会啊,第二弹继续下注大打出来124点数7输掉了,第三单继续下注大打出来663点数15成功赢钱了,第四单继续下注小打出来125点数8也是收米了,连红两局还是很给力的,第五单继续下注小打出来346点数13输掉了,第六单继续下注小打出来236点数11还是输掉了,第七单继续下注小打出来146点数11还是输掉了,连黑3局也是郁闷的结果了,不过后面的下注还是很给力的,赢回来损失还有400块钱的盈利,今天这个盈利也是很不错的结果了,能够做到赢钱就可以了,保住盈利还是很重要的不要输掉就可以了1 u  n5 |$ i3 M, [# L1 s6 t$ `6 T
360截图20250524103635949.jpg 360截图20250524103647940.jpg 360截图20250524103659238.jpg 360截图20250524103712202.jpg
( [/ }) x- e7 i, K. J0 B+ [) R1 D1 K3 @, y
今天的菠菜还是很给力的,开局下注玩起来还是顺利了,最后的结果打出来400块钱的盈利,能够做到赢钱已经很不错了,下次再玩就可以了,保住盈利不要输掉就可以了慢慢来吧,400块钱也可以接受的结果了,最近这个区块链色子玩的还是很成功的,今天的菠菜就这样吧0 W3 A8 h8 O7 s$ F

3 X' n7 x: h2 S
回复

使用道具 举报

209

主题

1万

回帖

1266

金币

千足金牌会员

积分
42415

老会员

发表于 2025-5-24 10:56 | 显示全部楼层
楼主运气真好呀,BB游戏早早成功收米400人民币到手,厉害了
回复 支持 反对

使用道具 举报

229

主题

3470

回帖

465

金币

银牌会员

积分
10770

老会员交易勋章

发表于 2025-5-24 11:05 | 显示全部楼层
能有这么个收获那还是很不错的,恭喜楼主了
回复 支持 反对

使用道具 举报

229

主题

3470

回帖

465

金币

银牌会员

积分
10770

老会员交易勋章

发表于 2025-5-24 11:05 | 显示全部楼层
hy188820 发表于 2025-5-24 10:56/ |0 O4 h! _) ?, h" S5 H6 l" g8 M
楼主运气真好呀,BB游戏早早成功收米400人民币到手,厉害了

, i% R1 b& u; F& s这个确实是不错的运气了,直接稳稳的400大洋到手了
回复 支持 反对

使用道具 举报

1

主题

4994

回帖

4198

金币

金牌会员

积分
23389

老会员

发表于 2025-5-24 11:08 | 显示全部楼层
马上就回血赢了真是挺好的,这次运气可以有存在感了
回复 支持 反对

使用道具 举报

141

主题

1万

回帖

2911

金币

金牌会员

积分
31008

老会员光影行者

发表于 2025-5-24 11:49 | 显示全部楼层
只要是能够有个好的结果,还是很不错的,希望以后都能够有个好的结果了。
回复 支持 反对

使用道具 举报

31

主题

6680

回帖

394

金币

银牌会员

积分
19909

老会员光影行者

发表于 2025-5-24 12:54 | 显示全部楼层
收米400块钱也可以接受的结果,这已经说明今天的战斗太顺利。
回复 支持 反对

使用道具 举报

252

主题

1万

回帖

1526

金币

金牌会员

积分
31382

老会员

发表于 2025-5-24 13:13 | 显示全部楼层
只要是能够收米,还是很不错的,希望以后都能有个好的结果了。
回复 支持 反对

使用道具 举报

827

主题

2万

回帖

1万

金币

铂金用户

积分
87670

老会员精华勋章魅力达人

发表于 2025-5-24 14:21 来自手机 | 显示全部楼层
楼主这次的投注真是太顺了,收获400元的利润可不少,是可以满足了。
回复 支持 反对

使用道具 举报

827

主题

2万

回帖

1万

金币

铂金用户

积分
87670

老会员精华勋章魅力达人

发表于 2025-5-24 14:24 来自手机 | 显示全部楼层
黑雨衣大盗 发表于 2025-5-24 13:13
* [4 Y7 P$ z3 ^; u* P& X; }& x只要是能够收米,还是很不错的,希望以后都能有个好的结果了。
5 A: T' \, f' _& R. F, s8 G  n) ]
过程不重要,关键是能够收米,只要是能够收米就会开心。
回复 支持 反对

使用道具 举报

827

主题

2万

回帖

1万

金币

铂金用户

积分
87670

老会员精华勋章魅力达人

发表于 2025-5-24 14:26 来自手机 | 显示全部楼层
shunlifeiup 发表于 2025-5-24 11:08
4 m7 Z( Y& }7 I" G7 _马上就回血赢了真是挺好的,这次运气可以有存在感了

% n4 o6 L1 g* s  ~4 m菠菜总是输输赢赢的,这次能回血说明楼主的运气也是来的及时。
回复 支持 反对

使用道具 举报

3411

主题

8万

回帖

9623

金币

海燕硕士

积分
236127

万时之王老会员精华勋章勤奋勋章交易勋章光影行者

发表于 2025-5-24 15:31 | 显示全部楼层
这次能够取得这样的成功还是太好了,还是希望能够这样再接再厉吧
回复 支持 反对

使用道具 举报

3411

主题

8万

回帖

9623

金币

海燕硕士

积分
236127

万时之王老会员精华勋章勤奋勋章交易勋章光影行者

发表于 2025-5-24 15:31 | 显示全部楼层
linx1978 发表于 2025-5-24 14:26
( L3 \3 k/ ], }8 G: @) F菠菜总是输输赢赢的,这次能回血说明楼主的运气也是来的及时。
( n( o, Q! c0 I9 a
玩游戏当然都知道的是这样的输输赢赢的,但是总体来说还是想要赚钱呢
回复 支持 反对

使用道具 举报

3411

主题

8万

回帖

9623

金币

海燕硕士

积分
236127

万时之王老会员精华勋章勤奋勋章交易勋章光影行者

发表于 2025-5-24 15:32 | 显示全部楼层
linx1978 发表于 2025-5-24 14:247 u% J  ~2 k  o( |# A  F( h% E
过程不重要,关键是能够收米,只要是能够收米就会开心。

8 n: Q) b+ h1 p我们不需要看这个过程怎么样的,只要希望能够有一个好的结果就可以了
回复 支持 反对

使用道具 举报

3411

主题

8万

回帖

9623

金币

海燕硕士

积分
236127

万时之王老会员精华勋章勤奋勋章交易勋章光影行者

发表于 2025-5-24 15:32 | 显示全部楼层
linx1978 发表于 2025-5-24 14:213 w0 @/ C0 B  M5 Z+ {; M
楼主这次的投注真是太顺了,收获400元的利润可不少,是可以满足了。

# a3 V# n; ~2 B6 O7 _, t  Q当然玩游戏的话还是希望这样顺顺利利的,这个是一个比较开心的结果吧
回复 支持 反对

使用道具 举报

您需要登录后才可以回帖 登录 | 立即注册

本版积分规则

广告合作|福利汇|论坛简介|钱包教程|手机版|小黑屋|Archiver|海燕论坛

快速回复 返回顶部 返回列表